柳 工获得实用新型专利授权:“抱叉装置及装载机”

图片来源于网络,如有侵权,请联系删除
证券之星消息,根据天眼查APP数据显示柳 工(000528)新获得一项实用新型专利授权,专利名为“抱叉装置及装载机”,专利申请号为CN202421769994.9,授权日为2025年5月9日。
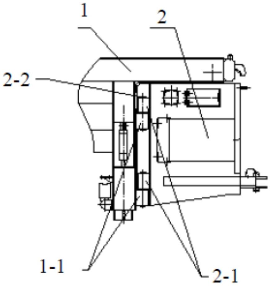
专利摘要:本实用新型属于装载机技术领域,公开了一种抱叉装置及装载机。抱叉装置包括下叉体、第一驱动件和上叉体。上叉体包括第一上叉体、第二上叉体和第二驱动件,第一上叉体沿第一方向的第一端与下叉体转动连接,第二上叉体转动连接于第一上叉体沿第一方向的第二端,第一驱动件能够驱动第一上叉体相对下叉体转动,并能够带动第二上叉体转动;第二驱动件还能够驱动第二上叉体相对第一上叉体朝向或背离下叉体转动。该抱叉装置通过将上叉体设置为第一上叉体和第二上叉体,并分别通过第一驱动件和第二驱动件驱动,以实现该抱叉装置能够增大或减小抱径,以使装卸物料更加方便且灵活,提高了作业效率。
今年以来柳 工新获得专利授权54个,较去年同期减少了15.62%。结合公司2024年年报财务数据,2024年公司在研发方面投入了11.41亿元,同比增25.85%。
数据来源:天眼查APP
以上内容为证券之星据公开信息整理,由AI算法生成(网信算备310104345710301240019号),不构成投资建议。
目录 返回
首页
