宁德时代获得实用新型专利授权:“电池装置、储能装置、储能系统、用电装置和充电网络”

图片来源于网络,如有侵权,请联系删除
证券之星消息,根据天眼查APP数据显示宁德时代(300750)新获得一项实用新型专利授权,专利名为“电池装置、储能装置、储能系统、用电装置和充电网络”,专利申请号为CN202520160694.9,授权日为2025年5月9日。
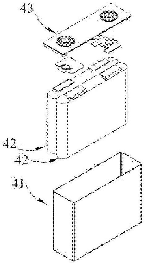
专利摘要:本申请公开了一种电池装置、储能装置、储能系统、用电装置和充电网络。电池装置包括:箱体,具有内底壁;能量单元,包括袋状电池单体和壳体,壳体内设有容纳腔,并且,壳体朝向第一方向的一侧面设有第一开口,第一开口朝向内底壁,袋状电池单体容置于容纳腔,并且,袋状电池单体再第一开口处通过胶体粘接于内底壁,壳体朝向第一方向的另一侧面为第一壳体壁;第一弹性件,设于壳体内且至少部分位于第一壳体壁和袋状电池单体之间。本申请实施例的电池装置通过第一弹性件至少部分位于第一壳壁和袋状电池单体之间,可以有效防止胶体开裂或袋状电池单体的破损,从而延长了电池装置的使用寿命,提高了电动车辆的可靠性。

图片来源于网络,如有侵权,请联系删除
今年以来宁德时代新获得专利授权1622个,较去年同期增加了31.23%。结合公司2024年年报财务数据,2024年公司在研发方面投入了186.07亿元,同比增1.37%。
数据来源:天眼查APP
以上内容为证券之星据公开信息整理,由AI算法生成(网信算备310104345710301240019号),不构成投资建议。
目录 返回
首页
