紫金矿业获得实用新型专利授权:“选矿厂粉尘收集装置”

图片来源于网络,如有侵权,请联系删除
证券之星消息,根据天眼查APP数据显示紫金矿业(601899)新获得一项实用新型专利授权,专利名为“选矿厂粉尘收集装置”,专利申请号为CN202421692708.3,授权日为2025年5月13日。
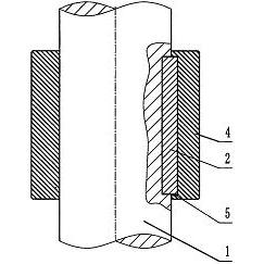
专利摘要:选矿厂粉尘收集装置,包括粉尘收集设备包括顶部设有电机一端嵌有滤芯带有负压筒的箱体,负压筒开有连接孔一,电机转轴底部设有离心叶片,箱体内侧顶设有与负压筒侧面部分且内部相通的负压罩,箱体一端底部设有与连接孔一相连折叠软管,箱体设有转动连接卷尘辊的带有连接折叠软管吸尘罩,箱体底座水泵连接负压罩与集尘屉,电机带动离心叶片转动,负压罩的内形成负压通过负压筒内部的滤芯作用到折叠软管内形成吸力,吸尘罩底部卷尘辊滚动,将地面上的粉尘卷起带到吸尘罩再被折叠软管吸入到负压罩内,卷尘辊滚动陷入粉尘深处;推车带有滑轮的底板,底板一端设置上头带有连通负压筒、电机、水泵的控制开关的推杆,具有省时节能、粉尘收集效率高等优点。
今年以来紫金矿业新获得专利授权13个,较去年同期减少了23.53%。结合公司2024年年报财务数据,2024年公司在研发方面投入了15.82亿元,同比增0.98%。
数据来源:天眼查APP
以上内容为证券之星据公开信息整理,由AI算法生成(网信算备310104345710301240019号),不构成投资建议。
目录 返回
首页
