神工股份获得实用新型专利授权:“一种实现硅片单面腐蚀的装置”

图片来源于网络,如有侵权,请联系删除
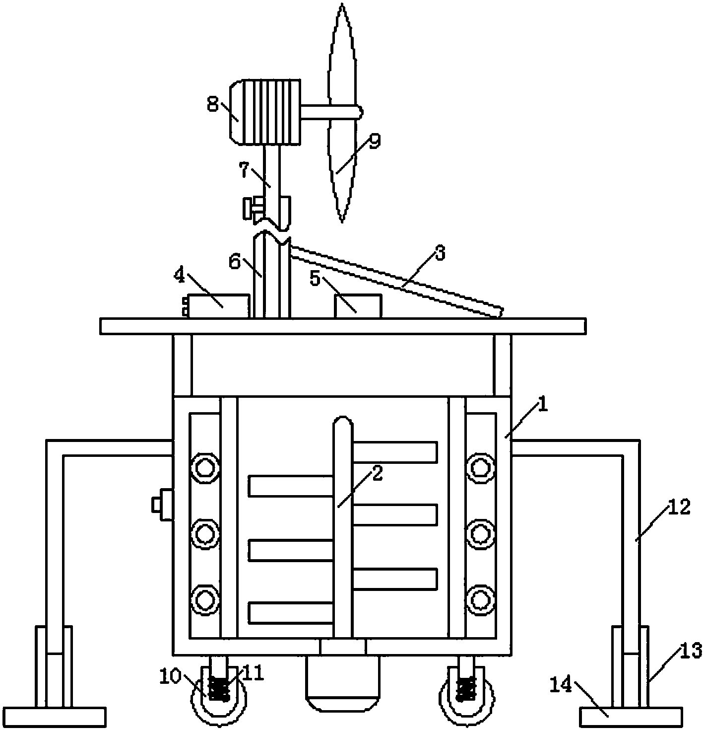
证券之星消息,根据天眼查APP数据显示神工股份(688233)新获得一项实用新型专利授权,专利名为“一种实现硅片单面腐蚀的装置”,专利申请号为CN202421458704.9,授权日为2025年5月13日。
专利摘要:本实用新型涉及一种实现硅片单面腐蚀的装置,包括旋转载台、腐蚀液喷淋装置、腐蚀液回收装置和过滤循环装置;所述旋转载台用于固定硅片并带动硅片同步转动;所述腐蚀液喷淋装置用于将腐蚀液喷淋在硅片的上表面;所述腐蚀液回收装置用于收集从旋转载台及硅片上滑落的腐蚀液;所述过滤循环装置用于将所述腐蚀液回收装置收集的腐蚀液经过滤净化处理后,循环输送至腐蚀液喷淋装置,并再次喷淋于旋转载台的硅片上表面。本实用新型可对硅片的非处理面和待处理面实现差异化腐蚀加工处理,以满足客户对硅片非处理面和待处理面的腐蚀类型、表面织构和平坦度的要求。

图片来源于网络,如有侵权,请联系删除
今年以来神工股份新获得专利授权1个,与去年同期持平。结合公司2024年年报财务数据,2024年公司在研发方面投入了2500.79万元,同比增11.32%。
数据来源:天眼查APP
以上内容为证券之星据公开信息整理,由AI算法生成(网信算备310104345710301240019号),不构成投资建议。
目录 返回
首页
