天邑股份获得发明专利授权:“一种网络跳线抗绕型缠绕装置及方法”

图片来源于网络,如有侵权,请联系删除
证券之星消息,根据天眼查APP数据显示天邑股份(300504)新获得一项发明专利授权,专利名为“一种网络跳线抗绕型缠绕装置及方法”,专利申请号为CN202311074217.2,授权日为2025年6月27日。
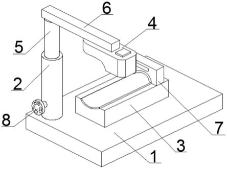
专利摘要:本发明涉及线缆缠绕技术领域,并公开了一种网络跳线抗绕型缠绕装置及方法,包括缠绕工作台,缠绕工作台上设置有缠绕机构和送筒机构,缠绕机构包括旋转板和负压缠绕辊,旋转板转动设置在缠绕工作台上,旋转板的轴线竖直设置,旋转板的顶部间隔设置有两组负压缠绕辊,送筒机构包括升降座、旋转臂和送筒传送带,升降座位于缠绕机构与送筒传送带之间,升降座具有沿负压缠绕辊轴向移动的自由度,旋转臂水平设置并转动设置在升降座上,旋转臂的旋转轴线平行于负压缠绕辊的轴线,旋转臂一端的底部设置有两个负压夹持辊,负压夹持辊用于将送筒传送带上的两个纸筒分别套装在两个负压缠绕辊上。解决网络跳线以8字形缠绕容易出现芯线断裂的情况。
今年以来天邑股份新获得专利授权36个,较去年同期增加了16.13%。结合公司2024年年报财务数据,2024年公司在研发方面投入了1.01亿元,同比减21.49%。
通过天眼查大数据分析,四川天邑康和通信股份有限公司共对外投资了2家企业,参与招投标项目466次;财产线索方面有商标信息198条,专利信息819条,著作权信息37条;此外企业还拥有行政许可84个。
数据来源:天眼查APP
以上内容为证券之星据公开信息整理,由AI算法生成(网信算备310104345710301240019号),不构成投资建议。
目录 返回
首页
