拓普集团获得发明专利授权:“一种电动屏幕旋转摆动机构”

图片来源于网络,如有侵权,请联系删除
证券之星消息,根据天眼查APP数据显示拓普集团(601689)新获得一项发明专利授权,专利名为“一种电动屏幕旋转摆动机构”,专利申请号为CN202211374237.7,授权日为2025年7月4日。
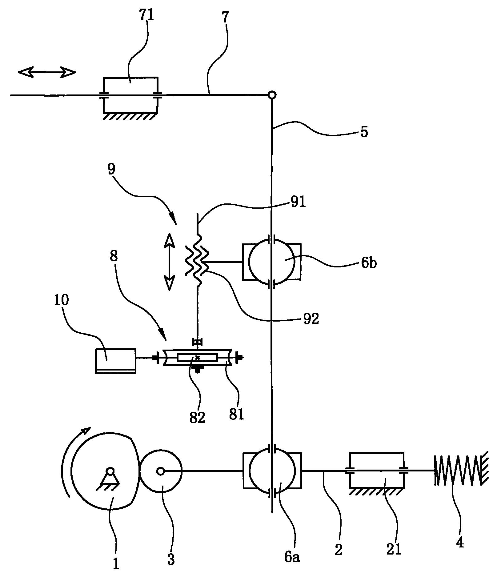
专利摘要:本发明涉及一种电动屏幕旋转摆动机构,包括旋转机构组件、旋转驱动组件、摆动连杆机构、摆动驱动机构、底座和上盖;所述旋转机构组件用于供屏幕的安装;所述旋转驱动组件用于驱动所述旋转机构组件带动屏幕旋转;所述摆动连杆机构包括支撑架,所述旋转机构组件安装于支撑架上;所述摆动连杆机构可活动地安装在底座上,所述摆动驱动机构固定安装在底座上;所述摆动驱动机构用于驱动摆动连杆机构,以带动支撑架相对底座平移或摆动,进而实现屏幕的平移或摆动;所述底座和上盖相互对接,所述上盖设有长形导向槽,所述支撑架设有滑动插接至所述长形导向槽的导向柱,所述长形导向槽用于限定所述支撑架的运动轨迹。

图片来源于网络,如有侵权,请联系删除
今年以来拓普集团新获得专利授权91个,较去年同期增加了250%。结合公司2024年年报财务数据,2024年公司在研发方面投入了12.24亿元,同比增24.11%。
通过天眼查大数据分析,宁波拓普集团股份有限公司共对外投资了48家企业,参与招投标项目25次;财产线索方面有商标信息24条,专利信息852条,著作权信息53条;此外企业还拥有行政许可34个。
数据来源:天眼查APP
以上内容为证券之星据公开信息整理,由AI算法生成(网信算备310104345710301240019号),不构成投资建议。
目录 返回
首页
