苏博特获得实用新型专利授权:“一种两端圆环锚固的成排钢纤维”

图片来源于网络,如有侵权,请联系删除
证券之星消息,根据天眼查APP数据显示苏博特(603916)新获得一项实用新型专利授权,专利名为“一种两端圆环锚固的成排钢纤维”,专利申请号为CN202422832829.X,授权日为2025年9月19日。
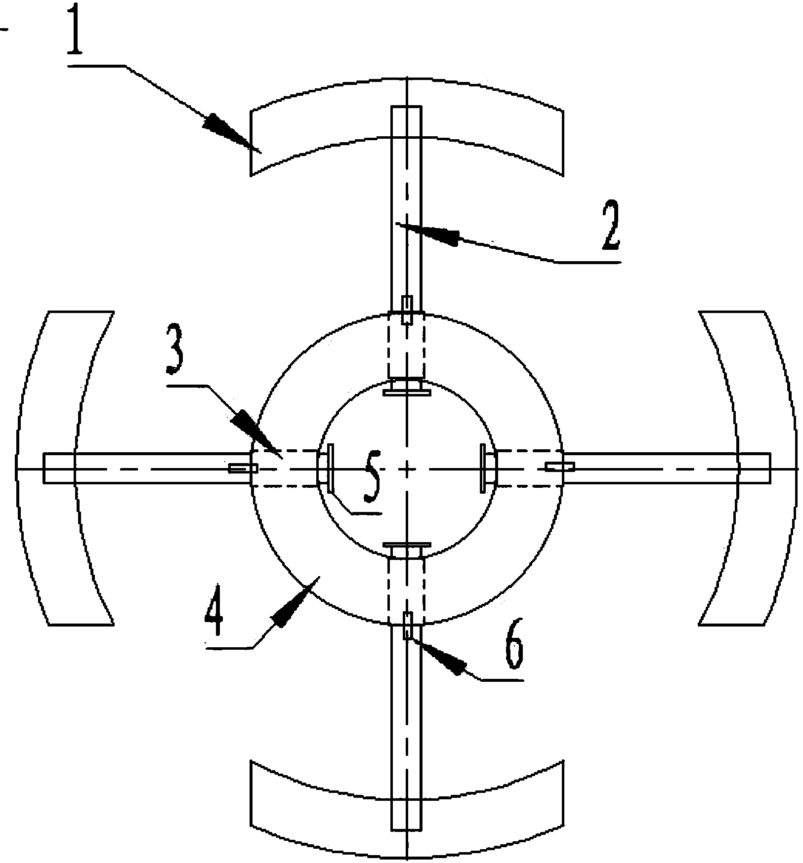
专利摘要:本实用新型公开了一种两端圆环锚固的成排钢纤维,所述钢纤维的中间部份为平直段,平直段的两端各弯曲卷绕一个闭合的圆环,两端的圆环呈对称分布;钢丝钢纤维通过可溶性胶水粘接成排。本实用新型的有益效果是钢纤维平直段两端的闭合圆环,可减少钢纤维之间的相互搭接,并增加钢纤维与混凝土基体的粘结、机械锚固力;粘结胶水的使用能在提高钢纤维在混凝土中的掺量的同时改善钢纤维在混凝土中的均匀分布,减少钢纤维结团的可能性;钢纤维两端的锚固部位及过渡部位都呈圆弧状,无弯折点,避免了加工过程中对钢纤维造成的损伤,维持了钢纤维原材料(钢丝)的抗拉强度。

图片来源于网络,如有侵权,请联系删除
今年以来苏博特新获得专利授权38个,较去年同期增加了15.15%。结合公司2025年中报财务数据,今年上半年公司在研发方面投入了8906.43万元,同比增16.78%。
通过天眼查大数据分析,江苏苏博特新材料股份有限公司共对外投资了25家企业,参与招投标项目2150次;财产线索方面有商标信息80条,专利信息1280条,著作权信息17条;此外企业还拥有行政许可40个。
数据来源:天眼查APP
以上内容为证券之星据公开信息整理,由AI算法生成(网信算备310104345710301240019号),不构成投资建议。
目录 返回
首页
