三峡能源获得实用新型专利授权:“一种检修梯”

图片来源于网络,如有侵权,请联系删除
证券之星消息,根据天眼查APP数据显示三峡能源(600905)新获得一项实用新型专利授权,专利名为“一种检修梯”,专利申请号为CN202421961846.7,授权日为2025年6月17日。
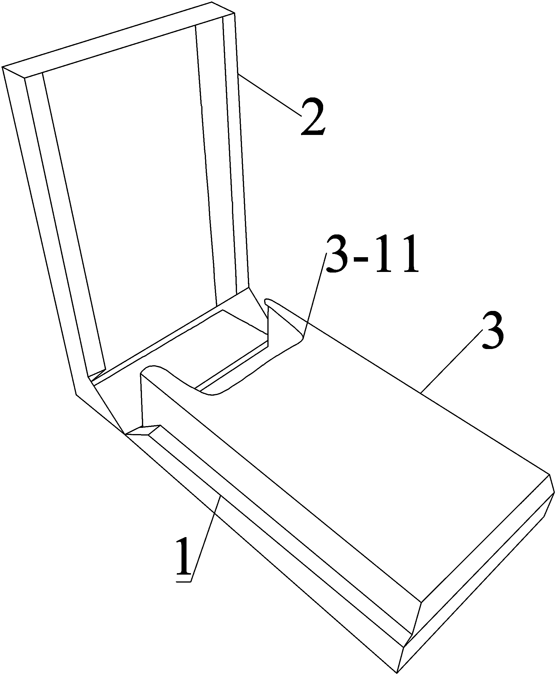
专利摘要:本申请实施例提供一种检修梯,涉及检修技术领域。该检修梯包括:伸缩组件、连接组件和至少两个防滑组件;伸缩组件包括第一伸缩梯和第二伸缩梯,第一伸缩梯与第二伸缩梯铰接;连接组件设置在第二伸缩梯上,连接组件用于与光伏组件连接;各防滑组件分别与第一伸缩梯与第二伸缩梯对应连接,且背离连接组件。第一伸缩梯与第二伸缩梯通过铰接相对远离或相对靠近,可以根据地形灵活调整二者之间的间隔,而第一伸缩梯、第二伸缩梯和地面之间形成稳定的三角结构,增强了检修梯的稳定性。
今年以来三峡能源新获得专利授权87个,较去年同期减少了28.69%。结合公司2024年年报财务数据,2024年公司在研发方面投入了4252.82万元,同比增146.79%。
数据来源:天眼查APP
以上内容为证券之星据公开信息整理,由AI算法生成(网信算备310104345710301240019号),不构成投资建议。
目录 返回
首页
