岱峰财经

中联重科获得实用新型专利授权:“一种柱形件夹持装置”

10 10月
作者:小微|{/foreach}{/if}

中联重科获得实用新型专利授权:“一种柱形件夹持装置”
图片来源于网络,如有侵权,请联系删除

证券之星消息,根据天眼查APP数据显示中联重科(000157)新获得一项实用新型专利授权,专利名为“一种柱形件夹持装置”,专利申请号为CN202423029764.1,授权日为2025年10月10日。

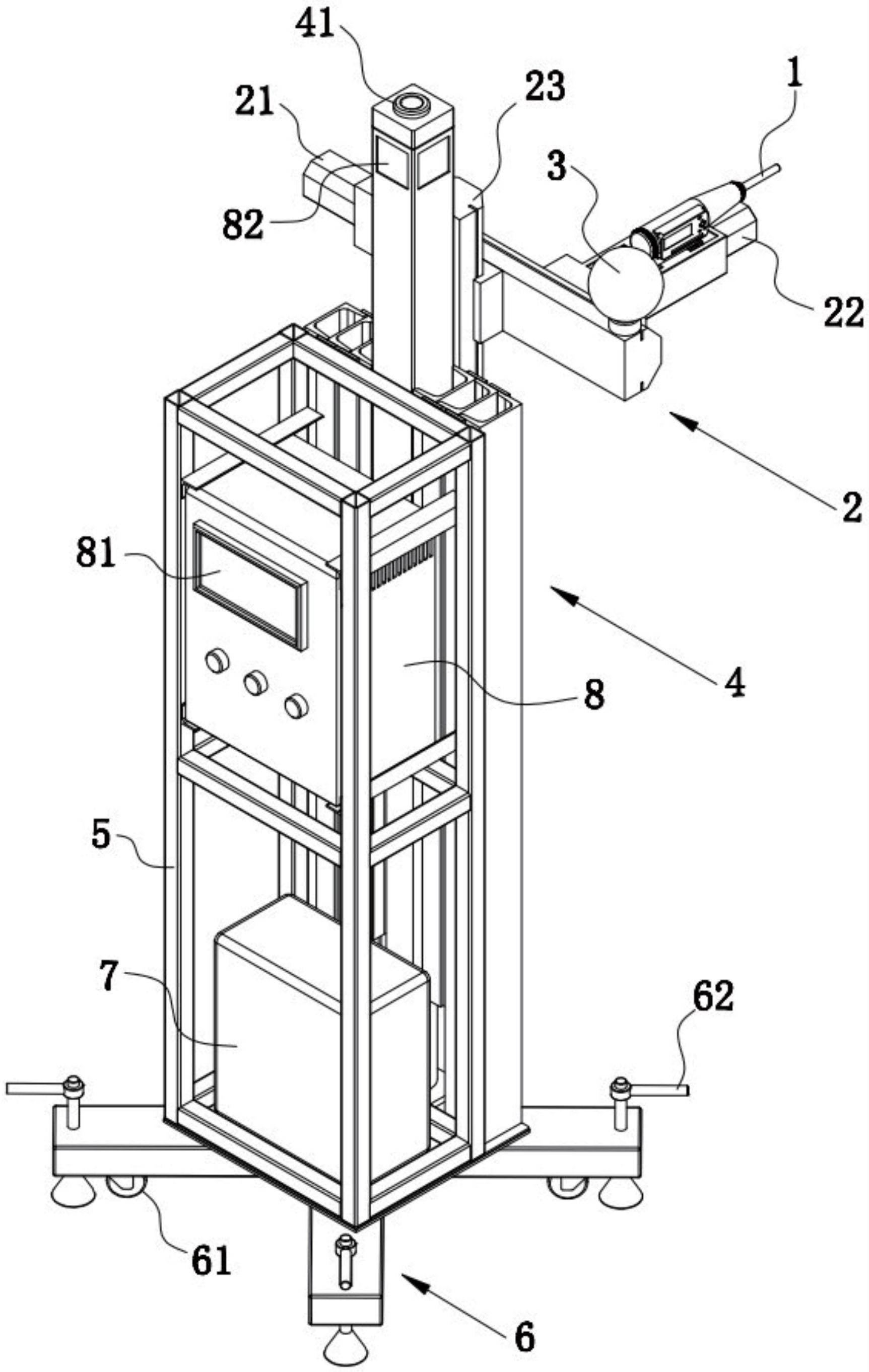
专利摘要:本实用新型公开了一种柱形件夹持装置,涉及工程机械领域,该夹持装置具体包括:机械臂、机械手、第一卡爪、以及第二卡爪,所述机械臂的一端设有夹持部,所述机械手与所述夹持部相对设置,且与所述夹持部可转动连接,所述夹持部朝向所述机械手的一侧凸设有第一安装块,所述机械手朝向所述夹持部的一侧凸设有第二安装块,所述第一卡爪可拆卸地安装在所述第一安装块上,所述第二卡爪可拆卸地安装在所述第二安装块上。本实用新型提供的夹持装置,结构简单,装卸方便,机加工难度低,制造成本低。

中联重科获得实用新型专利授权:“一种柱形件夹持装置”
图片来源于网络,如有侵权,请联系删除

今年以来中联重科新获得专利授权407个,较去年同期增加了67.49%。结合公司2025年中报财务数据,今年上半年公司在研发方面投入了14.12亿元,同比增8.16%。

通过天眼查大数据分析,中联重科股份有限公司共对外投资了106家企业,参与招投标项目8371次;财产线索方面有商标信息1678条,专利信息9175条,著作权信息251条;此外企业还拥有行政许可732个。

数据来源:天眼查APP

以上内容为证券之星据公开信息整理,由AI算法生成(网信算备310104345710301240019号),不构成投资建议。

浏览62.6k
返回
目录
返回
首页
巴西对华农产品出口创历史新高 科威特证券交易所表现引领海湾市场

Copyright © 2024 dw 版权所有

备案号: 蜀ICP备2024051291号-16

岱峰财经专业为您提供经济要闻、独家热点、新讯首推、金融动态、基金股市、市场动态等财经方面资讯,岱峰财经是一个专业财经领域资讯服务者。

本站部分内容为转载,不代表本站立场,如有侵权请联系处理。