奥普特获得实用新型专利授权:“一种组合式光源及视觉检测装置”

图片来源于网络,如有侵权,请联系删除
证券之星消息,根据天眼查APP数据显示奥普特(688686)新获得一项实用新型专利授权,专利名为“一种组合式光源及视觉检测装置”,专利申请号为CN202520461475.4,授权日为2026年2月10日。
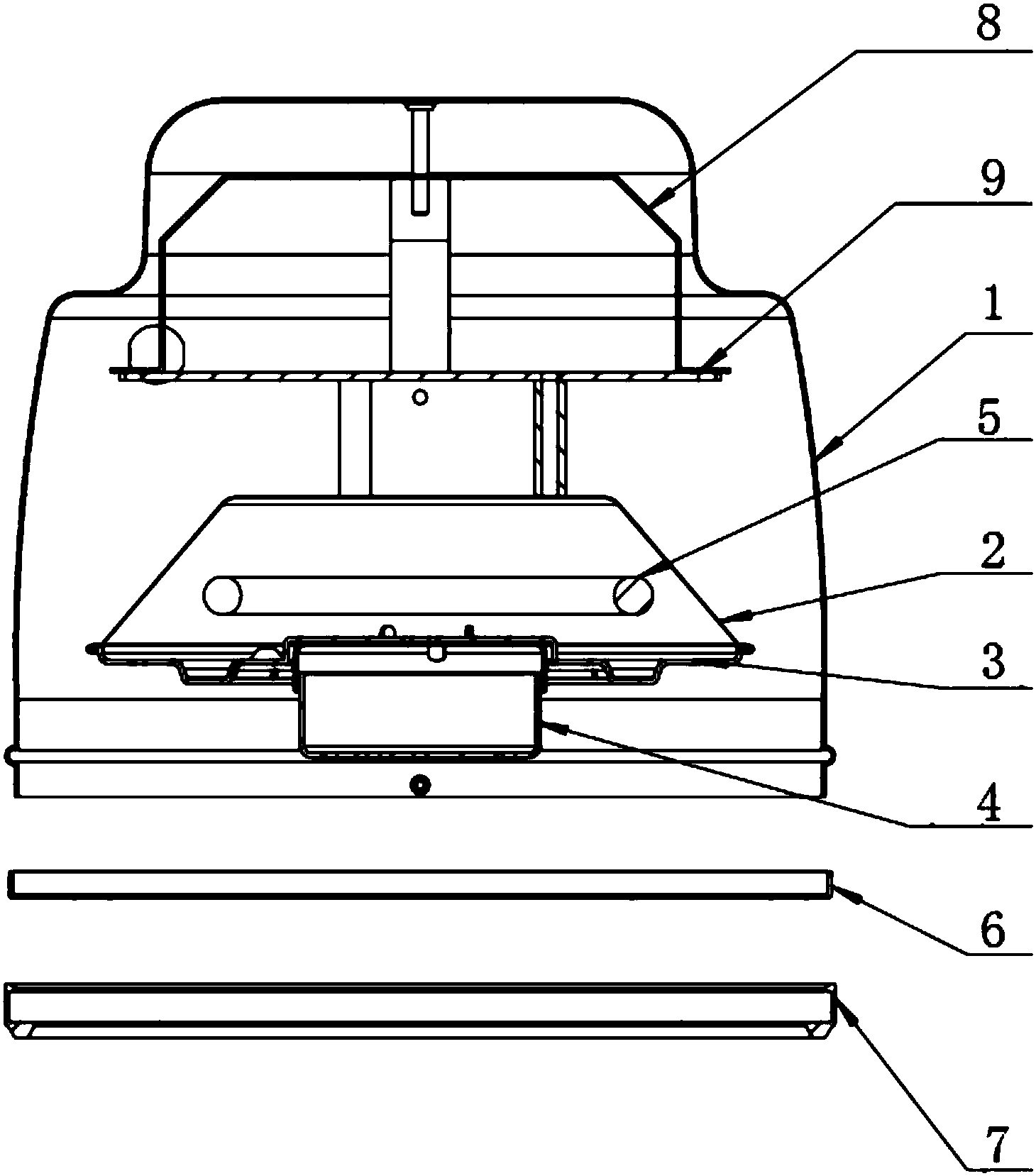
专利摘要:本实用新型涉及光源结构技术领域,公开了一种组合式光源及视觉检测装置,包括壳体、安装在壳体上的第一灯板、安装在所述第一灯板出光侧的扩散板、安装在所述壳体上的菲涅尔透镜、可转动安装在所述壳体上的全反射镜和安装在所述壳体上的第二灯板,且所述全反射镜的倾斜角度可调;所述第一灯板射出的光线能穿过所述扩散板射向待测工件,所述第二灯板射出的光线穿过所述菲涅尔透镜射向所述全反射镜,所述全反射镜将光线反射射向待测工件。本实用新型的组合式光源及视觉检测装置,解决了均匀光照下高亮光斑位置可调的问题,能更好地检测工件。

图片来源于网络,如有侵权,请联系删除
今年以来奥普特新获得专利授权15个,较去年同期增加了66.67%。结合公司2025年中报财务数据,2025上半年公司在研发方面投入了1.29亿元,同比增17.52%。
通过天眼查大数据分析,广东奥普特科技股份有限公司共对外投资了8家企业,参与招投标项目52次;财产线索方面有商标信息200条,专利信息1083条,著作权信息129条;此外企业还拥有行政许可31个。
数据来源:天眼查APP
以上内容为证券之星据公开信息整理,由AI算法生成(网信算备310104345710301240019号),不构成投资建议。
目录 返回
首页
