汇中股份获得实用新型专利授权:“一种具有接线盒结构的插入式超声换能器结构”

图片来源于网络,如有侵权,请联系删除
证券之星消息,根据天眼查APP数据显示汇中股份(300371)新获得一项实用新型专利授权,专利名为“一种具有接线盒结构的插入式超声换能器结构”,专利申请号为CN202520693348.7,授权日为2026年2月13日。
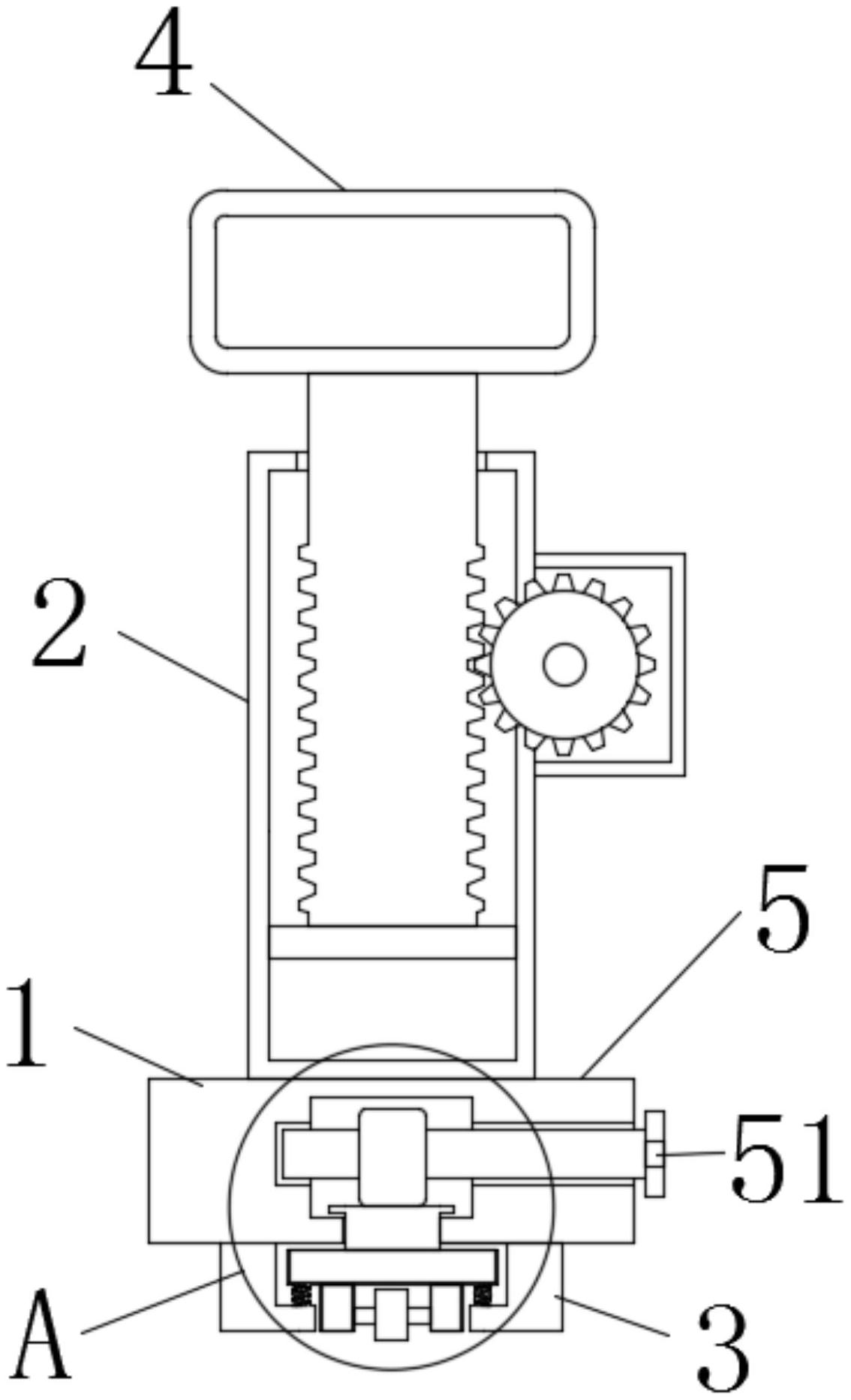
专利摘要:本实用新型涉及一种具有接线盒结构的插入式超声换能器结构,属于超声换能器辅助装置技术领域。技术方案为:接线盒侧面开口并设有内螺纹,换能器主体的后端开口并设有外螺纹,换能器主体的后端螺纹连接在接线盒侧面开口处并设有密封圈;换能器主体前端内部设有压电陶瓷片,正极线和负极线的一端与压电陶瓷片焊接固定,正极线和负极线的另一端穿过换能器主体进入到接线盒内部并与接线盒内部的陶瓷接线端子连接,陶瓷接线端子与换能器线缆一端连接,换能器线缆的另一端自换能器主体的出线嘴伸出。本实用新型通过增加接线盒结构,换能器主体与接线盒螺纹连接,若换能器出现故障,可以单独更换换能器主体,无需同传输线缆一同更换,节约更换时间及成本。

图片来源于网络,如有侵权,请联系删除
今年以来汇中股份新获得专利授权1个。结合公司2025年中报财务数据,2025上半年公司在研发方面投入了1808.14万元,同比增19.11%。
通过天眼查大数据分析,汇中仪表股份有限公司共对外投资了2家企业,参与招投标项目1328次;财产线索方面有商标信息154条,专利信息233条,著作权信息278条;此外企业还拥有行政许可92个。
数据来源:天眼查APP
以上内容为证券之星据公开信息整理,由AI算法生成(网信算备310104345710301240019号),不构成投资建议。
目录 返回
首页
