美的集团公布国际专利申请:“拉弧检测系统”

图片来源于网络,如有侵权,请联系删除
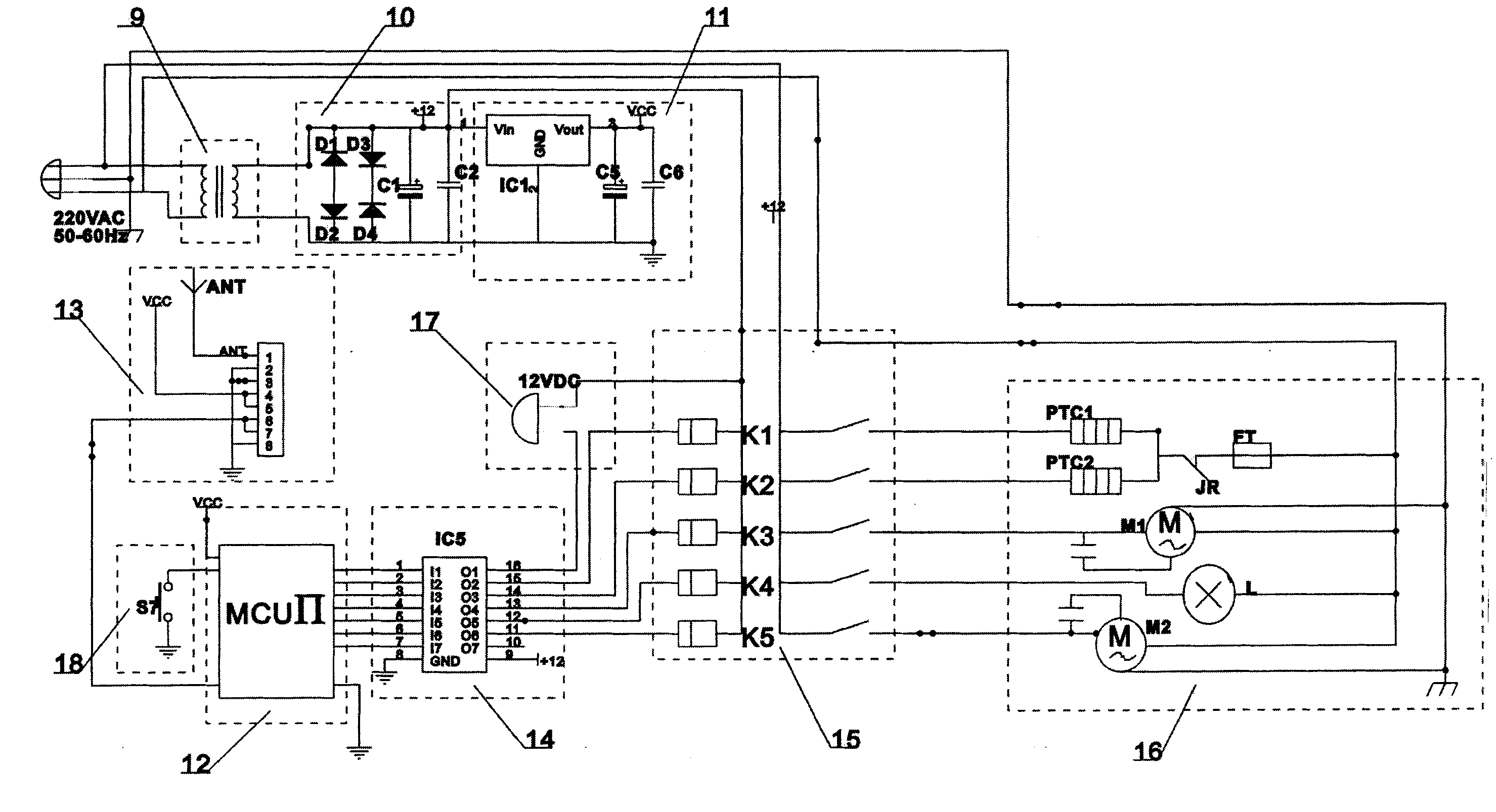
证券之星消息,根据企查查数据显示美的集团(000333)公布了一项国际专利申请,专利名为“拉弧检测系统”,专利申请号为PCT/CN2025/114194,国际公布日为2026年3月5日。
专利详情如下:

图片来源于网络,如有侵权,请联系删除
图片来源:世界知识产权组织(WIPO)
今年以来美的集团已公布的国际专利申请43个,较去年同期减少了30.65%。结合公司2025年中报财务数据,2025上半年公司在研发方面投入了87.67亿元,同比增14.41%。
数据来源:企查查
以上内容为证券之星据公开信息整理,由AI算法生成(网信算备310104345710301240019号),不构成投资建议。
目录 返回
首页
