南方航空获得实用新型专利授权:“一种飞机座椅滑轨维修钻孔装置”

图片来源于网络,如有侵权,请联系删除
证券之星消息,根据天眼查APP数据显示南方航空(600029)新获得一项实用新型专利授权,专利名为“一种飞机座椅滑轨维修钻孔装置”,专利申请号为CN202520321332.3,授权日为2026年3月6日。
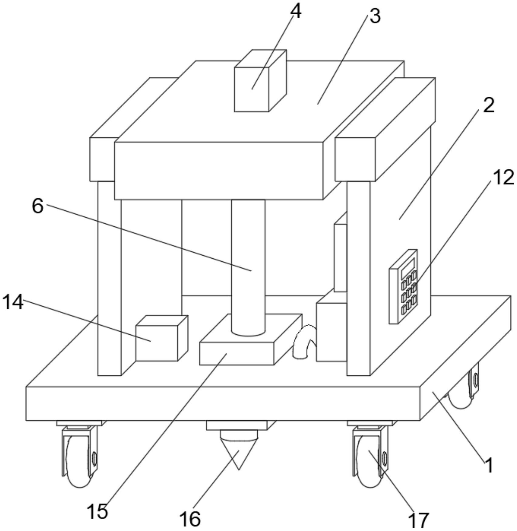
专利摘要:本实用新型涉及钻机技术领域,公开了一种飞机座椅滑轨维修钻孔装置,包括:支架,包括两组间隔设置的夹持体,夹持体的上部具有夹持槽,夹持槽用于安置搭接带,夹持体的下部具有安装面;定位件,一端穿过夹持体的上部与搭接带抵接,用于限定搭接带在夹持槽中的位置;Y轴导轨,两端对应安装于两组夹持体的安装面上;X轴导轨,滑动安装于Y轴导轨;Z轴导轨,滑动安装于Y轴导轨;安装座,滑动安装于Z轴导轨靠近搭接带的表面;以及直角钻,安装于安装座,且直角钻的钻头用于对搭接带进行钻孔。本实用新型的飞机座椅滑轨维修钻孔装置操作方便,提高了钻孔位置的准确性。

图片来源于网络,如有侵权,请联系删除
今年以来南方航空新获得专利授权13个,较去年同期减少了18.75%。结合公司2025年中报财务数据,2025上半年公司在研发方面投入了2.7亿元,同比增9.31%。
通过天眼查大数据分析,中国南方航空股份有限公司共对外投资了69家企业,参与招投标项目25439次;财产线索方面有商标信息131条,专利信息461条,著作权信息413条;此外企业还拥有行政许可168个。
数据来源:天眼查APP
以上内容为证券之星据公开信息整理,由AI算法生成(网信算备310104345710301240019号),不构成投资建议。
目录 返回
首页
